Процедура проверки:
- Выключить зажигание;
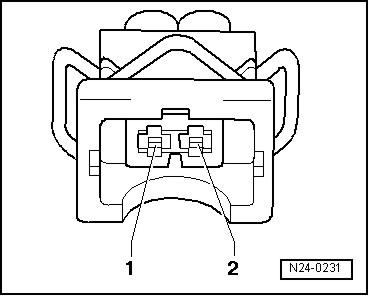
- Вынуть штекер -2- из электромагнитного клапана ограничения давления наддува N75 -1-;
- Измерить сопротивление между контактами на клапане. Заданное значение: 25…45;
Если заданное значение не достигнуто:
- Заменить электромагнитный клапан ограничения давления наддува N75;
Если заданное значение достигнуто:
- Включить зажигание;
- Измерить питающее напряжение клапана между контактом 1 штекера и массой двигателя. Заданное значение: примерно равно напряжению на аккумуляторе;
Если заданное значение не достигнуто:
- Выключить зажигание;
- Подсоединить 121-контактный кабель переходника V.A.G 1598/31 к жгуту проводки блока управления. Блок управления двигателя при этом не подключается;
- Проверить провода между 121-контактным кабелем переходника V.A.G 1598/31 и штекерным соединением в соответствии с электрической схемой на обрыв;
Контакт 1 + гнезда 1 и 2.
Контакт 2 + гнездо 62.
Сопротивление линии: макс. 1,5.
- Дополнительно следует проверить провода на межпроводное короткое замыкание, а также на замыкание на массу автомобиля и на замыкание на плюсовую клемму аккумулятора;
Если неисправность в проводах не обнаружена:
- Заменить блок управления непосредственного впрыска J248.
Комментарии
3k
Вакансия автора, копирайтера на Etlib.ru
Если вы специалист в тематике, хотите писать и хорошо зарабатывать на этом, то добро пожаловать в команду! Платим выше рынка.
Смотрите также
-
Износ маслосъемных колпачков
-
P0300 - ошибка пропусков зажигания. Причины, следствия, устранение
-
P0172: ошибка слишком богатой смеси. Диагностический код р0172 богатая смесь
-
Как проверить регулятор давления топлива
-
Ошибка EDC
-
Герметик клапанной крышки и ГБЦ
-
Почему прогорают клапана
-
Машина дергается на ходу
-
Какие маслосъемные колпачки лучше
Не нашли ответ на свой вопрос?
Спрашивайте в комментариях. Ответим обязательно!
Популярные инструкции
по ремонту



Износ маслосъемных колпачков
P0300 - ошибка пропусков зажигания. Причины, следствия, устранение
P0172: ошибка слишком богатой смеси. Диагностический код р0172 богатая смесь
Как проверить регулятор давления топлива
Ошибка EDC
Герметик клапанной крышки и ГБЦ
Почему прогорают клапана
Машина дергается на ходу
Какие маслосъемные колпачки лучше